• Vezetősínek

  • Vezetősínek
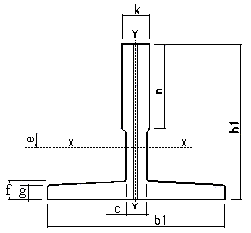
    Vezetősínek - megmunkált - GL
    Vezetősínek - megmunkált, GL típus
    kód típus ISO 7465 méret mm
    D120165 GM975 T90/B 90x75x16
    D120167 GM125 T125/B 125x82x16
    D120170 GM127-3 - 127x89x16
    Anyag: S235JRG acél (UNI EN 10025) Kr = 430 N/mm˛
    Standard hossz.: 5 m
    Tartozék: (minden egyes sínhez): 1 síntoldás + 8 anya, csavar, alátét
    Comfort-Lift

    Vezetősínek - megmunkált, GM típus
    Comfort-Lift
    A változtatás jogát fenntartjuk.