| kód |
jellemzők |
kép |
| D612610 |
Kör alakú csúszóbetét -
Monitor |
 |
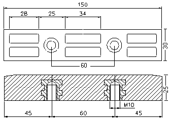
| D612612 |
csúszóbetét - 160 Monitor - C.
5,5 |
 |
| D612615 |
csúszóbetét - 160 Monitor - C.
8,5 |
| D612616 |
csúszóbetét - 160 Monitor - C.
9,5 |
| D612617 |
csúszóbetét - 160 Monitor - C.
10,5 |
| D612619 |
csúszóbetét - 160 Monitor - C.
16,5 | |
|